1、功能入口
通过【小安-公司治理-独董履职管理】进入功能页面。

2、履职计划管理
系统已提前预设未来一年独董需要履行的职责事项,点击编辑按钮,可以对履职任务进行分解、分配和跟踪,并预估现场工作天数。


勾选任务,点击“添加至待办”,可以设置参与人以及相应提醒。


如已完成,可以点击“标记完成”。

系统将提示是否同事生成履职记录,点击“确认并前往”将跳转至履职记录编辑页面。

2、独董履职记录
切换至“独董履职记录”页面,可以从履职计划管理导入记录或录入履职记录。

点击“录入履职记录”,有手动录入和从三会管理导入两种方式。

选择手动录入:
填写履职类型、履职时间、履职内容等信息,选择履职独董,并记录履职方式与现场工作天数。

选择从三会管理导入:
勾选独董参加的会议,选择履职方式、确认现场工作天数,完成录入。


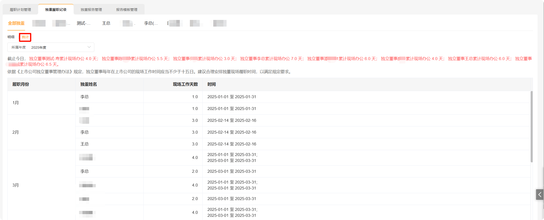
切换至“统计”页面,选择所属年度,系统将自动统计各独董的现场工作天数。

除查看全部独董履职记录外,还支持单独切换至独董个人,查看其履职记录。

3、报告模板管理
系统提供了三份报告模板供参考使用,包括述职报告与独立性自查报告。

点击“编辑”,用户可以自定义设置调整报告内容。

4、独董报告管理
在这个页面,用户点击“生成报告”,选择报告年度、报告模板以及独立董事后可以生成对应的文档报告。同时支持在线编辑、预览、下载和删除操作。



报告预览