小安的【ESG管理】栏目,支持线上ESG披露指标管理和信息收集,为上市公司提供ESG信息管理数字化、流程化、规范化的解决方案。
在菜单【公司治理-ESG管理】使用对应功能。

1.权限设置
右上角的【添加成员】可以添加本公司的ESG管理员和填报用户;

在用户列表中的右侧操作列,可以对现有成员进行编辑和删除操作。

2.子公司管理
功能说明:子公司管理用于管理子公司信息和公司所属成员信息。
权限说明:ESG咨询顾问和ESG管理员可以使用。
初始状态仅展示总公司名称,不可编辑和删除总公司。

2.1子公司管理
(1)添加子公司
点击【添加子公司】添加子公司,输入子公司名称后点击“确定”即可添加成功。

(2)编辑子公司
点击【编辑】编辑子公司名称,输入子公司名称后点击【确定】即可编辑成功。

若该子公司被分配了任务还未完成,不允许编辑名称。

(3)删除子公司
点击子公司后的【删除】删除子公司,点击【确认】确认即可删除该子公司。

若该子公司被分配了任务未完成,不允许直接删除。

若该子公司下仍有成员,不允许直接删除。

2.2子公司成员管理

(1)添加子成员
点击【添加成员】跳转至企业管理->用户管理页面。支持添加新成员,或将企业已存在的员工设置为ESG管理员或ESG填报用户。

添加新成员:点击【添加成员】,填写弹窗中的成员信息,标*号为必填项,并按实际情况选择“所属用户组”,将成员设置成ESG管理员或ESG填报用户,支持多选。

若该成员已存在,但未拥有ESG管理的权限,点击该成员后的【编辑】编辑成员信息,选择“所属用户组”后保存。

(2)选择所属公司
新增成员后,在ESG管理->子公司所属成员管理中查看本公司ESG成员,此时成员未分配所属公司。

点击【选择所属公司】,弹窗选择该成员所属子公司。

(3)更改所属公司
点击【选择所属公司】更改成员所属子公司,若该成员有任务在进行中,不允许更改。

3.任务分配
功能说明:用于创建年度ESG填报任务,并分配指标。
权限说明:ESG咨询顾问和ESG管理员可以使用。

3.1创建任务
点击【创建任务】创建公司年度ESG填报任务,填写任务名称、选择报告年份、选择任务期限、选择议题、选择涉及填报公司,点击【保存】,点击【提交】完成任务创建。

3.2编辑任务
点击【编辑】可编辑“未提交”状态的任务。

3.3删除任务
点击【删除】可删除“未提交”和“待分配”状态的任务。

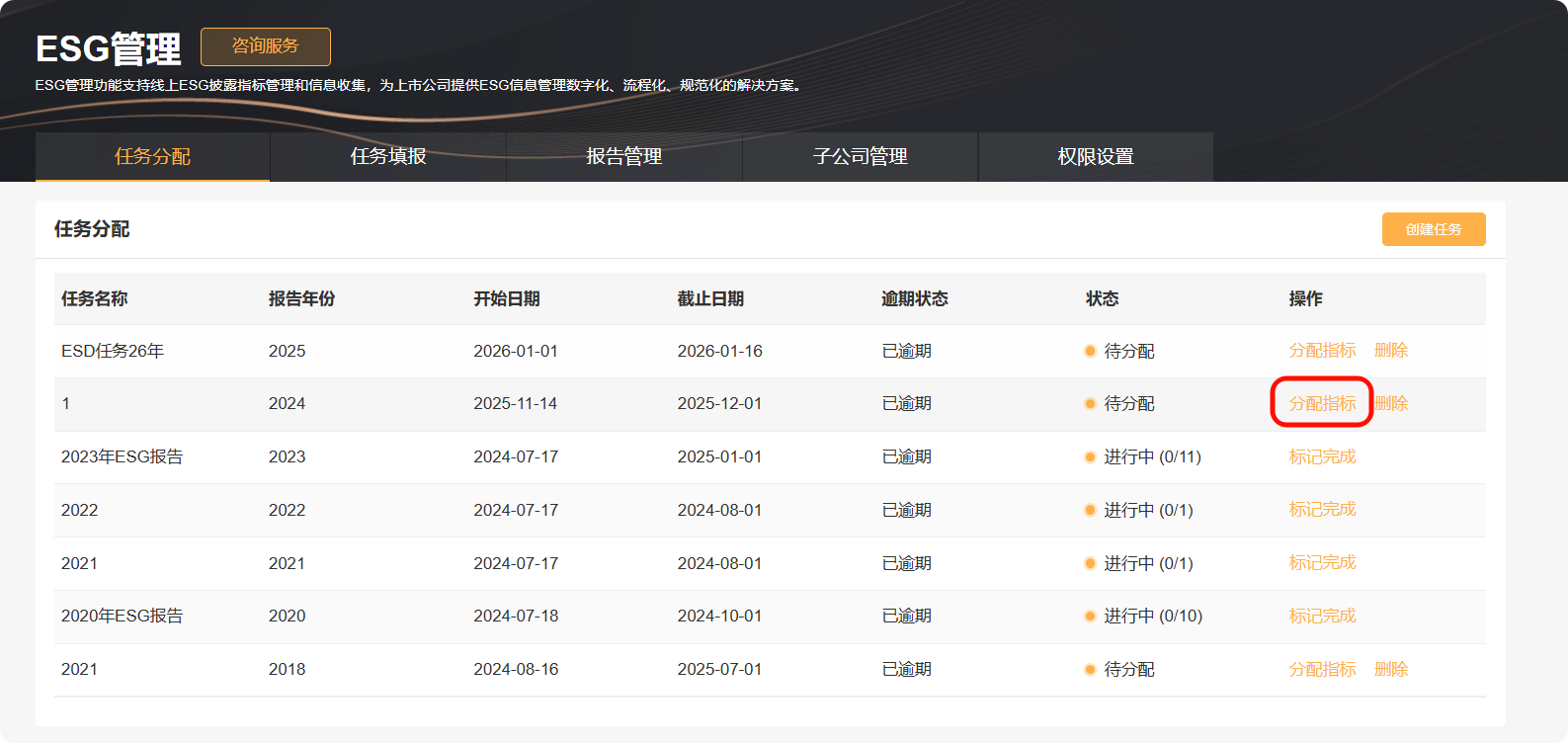
3.4分配指标
(1)进入分配详情
点击【分配指标】对“未分配”状态的任务进行指标分配。

(2)选择议题和填报人
点击【选择】选择该填报公司需要填写的议题和对应填报用户。


(3)保存任务
点击【保存】保存当前分配情况。

(4)下发任务
点击【下发】将指标下发至各个填报用户。


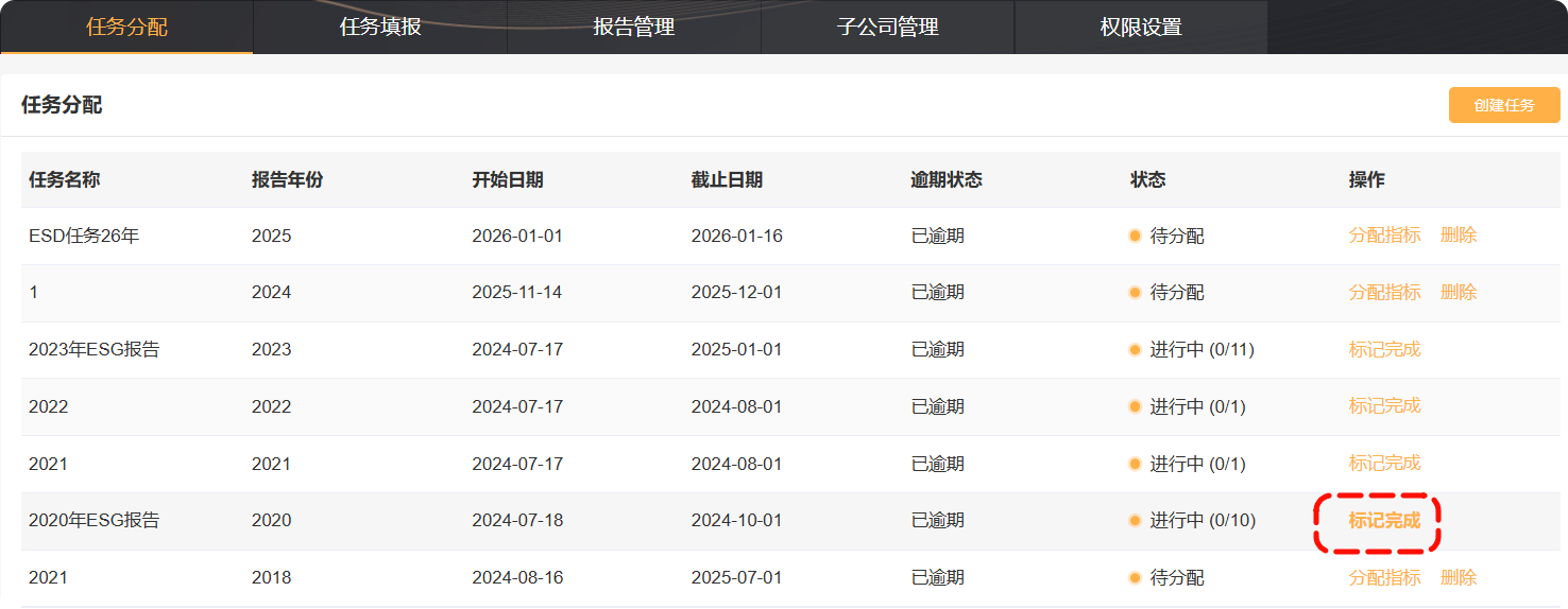
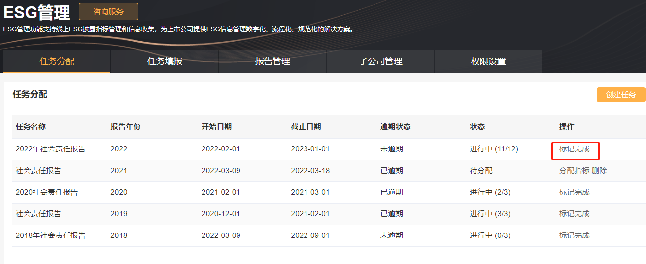
3.5查看任务进展
对于“进行中”和“已完成”的任务进度,可点击进行中(x/x)跳转查看该任务的填报列表。

3.6标记完成
对于“已完成”的任务,可点击【标记任务】结束整个任务。


4.任务填报
功能说明:用于收集、审核该公司的年度ESG数据。
权限说明:ESG填报用户可查看分配到本人的任务,并进行填报和提交审核;ESG咨询顾问和ESG管理员可查看本公司所有填报数据,并通过审核或驳回。
无任务时如下图。

4.1填报任务
(1)任务填报
对于“待审核”和“审核不通过”的任务,点击【编辑】进行任务填报。按照提示填写每一个议题的定性描述、相关内容链接、上传附件(文件大小限制为50M),以及近三年的定量数据。


(2)保存任务
点击【保存】保存当前议题内容,系统支持每30秒自动保存填写所有内容。

(3)提交审核
点击【提交审核】提交所有议题内容。


4.2通过和驳回
对于“审核中”的填报任务,管理员确认内容后,可选择通过或驳回。

点击【通过】

点击【驳回】

4.3打回
为防止用户误操作,针对“审核通过”状态的填报任务,ESG咨询顾问有权限打回填报任务状态为“审核中”状态。

点击【打回】

4.4修改已“审核通过”的数据
由于ESG填报任务结束后,需要数据修改的情况普遍存在,针对“审核通过”状态的填报任务,ESG咨询顾问有权限进行内容编辑,不改变任务状态,并选择通知企业用户。

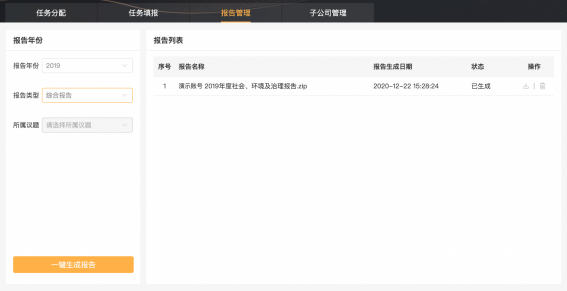
5.报告管理
功能说明:支持智能化生成公司年度ESG报告。
权限说明:ESG咨询顾问可以使用。
5.1报告生成
(1)生成社会、环境及治理报告
选择报告年份,选择报告类型为“综合报告”,点击【一键生成报告】生成本公司年度ESG报告,包含该公司绩效汇总报告和综合文档报告。

(2)下载附件报告
选择报告年份,选择报告类型为“附件”,选择议题,点击【一键生成报告】生成该公司该年度对应议题的附件报告。

5.2下载和删除
(1)下载报告
对于“已生成”的报告,点击【下载】图标下载报告附件。
(2)删除报告
对于“已生成”的报告,点击【删除】图标删除报告记录。

